Cimdesign - Artikelentwicklung bis zur Serienreife

Zurück
Other languages: German | English | Chinese | Italian | French | Portuguese | Ukrainian | Russian

Neuartiger Wärmepumpenkompressor - New Heatpump-Compressor

Cimdesign in Hamburg has invented and designed a novel heat pump compressor for various applications.

  • Low noise at high compression performance.
  • Significantly fewer parts. No reciprocating parts from pistons and connecting rods.
  • As a result, extremely lower forces on the crankshaft and housing at higher pressures.
  • Therefore low in vibration and low in noise.
  • Crankshaft now only possible from plates and pins.
  • Rolling bearings between the connecting rod eye on the crankshaft possible.

Kinematics of conventional piston compressors

Piston compressors still work today as a slider-crank mechanism based on the steam engine principle:


figure 1

Figure 1: Piston 3 drives crankshaft 1 via connecting rod 2, which rotates mounted in frame 4. Piston 3 and connecting rod 2 reciprocate during the working stroke and generate considerable forces, vibrations and loud noise at higher speeds and pressures.


figure 2

Figure 2: The novel heat pump compressor uses the proven technology of piston, cylinder and crankshaft, but now in the form of a kinematic inversion:

Crankshaft 1 is now held fixed — it thus becomes the frame — and the cylinder 4 rotates together with piston 3 around the common frame pivot point Bo:

In this rotating crank loop, piston 3 still moves relative to cylinder 4 as before, but no longer through space — instead along a shared circular path. Conclusion: the back-and-forth motion of piston and connecting rod is eliminated.


figure 3

Figure 3: In a multiple arrangement, pistons and cylinders are even located in a single plane rather than arranged one behind the other along the crankshaft axis (similar to a radial engine):

  • The crankshaft is stationary.
  • Here the entire star-shaped cylinder arrangement rotates.
  • The master connecting rod (light green) accommodates the 5 connecting rods (orange) on rotating bearings.
  • Here: the eccentricity of the stationary crankshaft relative to the rotating cylinder is 8mm.




Video of the rotational motion

The new heat pump compressor can generate much higher pressures with low noise compared to scroll compressors.

  • Circulation and compression medium: propane or even ambient air.
  • Exhaust valves in the cylinder heads.
  • Exhaust valves seal in the valve seat by centrifugal force.
  • Exhaust valves are positively opened by a cam track in the stationary housing.
  • No valve springs required.



figure 4afigure 4b


Figure 4: Valve control shown here without pistons and cylinders:

  • Positive opening via negative cam (21).
  • Exhaust valve 27 opens and closes during cylinder rotation within the angular range (20).
  • Sealing in cylinder seat (28) by natural centrifugal force.



figure 5
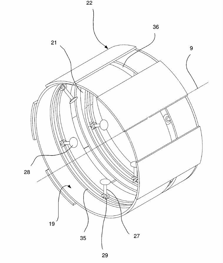
Figure 5: Valve control shown here without cylinders, pistons and connecting rods, in perspective view:

  • Positive opening when rotating in a groove as the cam lobe in the housing is reached.
  • Valve closes after the cam lobe by centrifugal force.
  • Here: 2 compressors arranged axially in series one behind the other.

Summary:

  • The novel heat pump compressor compresses using pistons, cylinders and connecting rods.
  • But without the high acceleration and deceleration forces of cylinder and connecting rod as found in conventional piston compressors.
  • Much higher pressures can be generated with low vibration and low noise compared to scroll compressors.
  • This makes less toxic circulation media possible, such as propane or even ambient air.
  • The cylindrical discs of the novel heat pump compressor can also be connected in series axially in a multiple arrangement, in order to generate very high pressures with low noise and high efficiency.