Cimdesign - Artikelentwicklung bis zur Serienreife

Zurück
Other languages: German | English | Chinese | Italian | French | Portuguese | Ukrainian | Russian

Neuartiger Wasserstoffmotor

Cimdesign in Hamburg hat für verschiedene Anwendungen einen neuartigen Wasserstoffmotor erfunden und konzipiert.

  • geringes Gewicht bei hoher Leistung
  • bedeutend weniger Teile
  • keine hin und her gehende Teile wie Kolben und Pleuel
  • dadurch extrem geringere Kräfte auf Kurbelwelle und Gehäuse bei höheren Drehzahlen
  • Kurbelwelle nur noch aus Platten und Stiften
  • Wälzlager zwischen Pleuelauge auf Kurbelwelle möglich

Kinematik herkömmlicher Kolbenmaschinen

Otto- und Dieselmotoren arbeiten bis heute als Schubkurbeltrieb nach dem Dampfmaschinenprinzip.

Bild 1: Kolben 3 bedient über Pleuel 2 Kurbelwelle 1 , die im Gestell 4 gelagert rotiert. Kolben 3 und Pleuel 2 gehen im Arbeitshub hin und her und erzeugen bei höheren Drehzahlen erhebliche Kräfte, die sehr solide Festigkeit erfordern (noch mehr Teilegewicht) und sehr stabile Motorengehäuse.

Bild 2: Nach diesem Prinzip liefen die ersten Dampfmaschinen und Lokomotiven.

Aber auch die modernsten Otto- und Dieselmotoren laufen kinematisch immer noch nach dem Dampfmaschinen-Prinzip, hier BMW:

Auch dann, wenn die Kolben heute ultraleicht optimiert sind, gehen die Pleuel (Stahl) in Mehrfachanordnung bis zu 5000 Mal pro Minute hin und her.

Die enormen Kräfte werden dann in einer aus Stahl geschmiedeten Kurbelwelle aufgefangen. Dabei hat das Abtriebsdrehmoment im Vergleich zu den internen Blindkräften einen sehr kleinen Anteil.

Gekröpft geschmiedete Kurbelwellen können leider die Pleuelaugen nicht über Wälzlager aufnehmen, sondern müssen in halbschaligen Gleitlagern mit aufwendiger Öldruckschmierung laufen:

Sehr kostspielig und aufwendig ist dann der Maschinenpark bei den Automobilfirmen, um die exzentrischen Zapfen dann bei Form- und Lagetoleranz präzise hochgenau zu fertigen.

Beim legendären Wankelmotor gab es diese gigantischen Blindkräfte vom Hin- und Her-Gerüttel zwar nicht mehr. Auch baute der Wankelmotor mit deutlich weniger Teilen:

Aber es gab keine Ventilsteuerung (verminderter Gaswechsel Brennraum) und ein Dichtleistenproblem beim Überstreichen der Ein- und Auslassöffnungen.
Der neuartige Wasserstoffmotor hingegen nutzt die bewährte Technologie Kolben, Zylinder, Kurbelwelle, aber in Form einer kinematischen Umkehrung:

Kurbelwelle 1 wird jetzt festgehalten und der Zylinder dreht mit Kolben 3 um den Gestellpunkt 4:

Bei dieser Umlaufenden Kurbelschleife bewegt sich zwar Kolben 3 wie bisher zum Zylinder 4 relativ, aber nicht mehr im Raum, sondern auf einer Kreisbahn.
Fazit: weg ist das Hin und Her von Kolben und Pleuel.

In einer Mehrfachanordnung liegen sogar Kolben und Zylinder in einer Schicht und nicht mehr hintereinander entlang der Kurbelwellenachse:

  • Die Kurbelwelle steht
  • Hier dreht die gesamte sternförmige Zylinderanordnung
  • Das Masterpleuel (grau) nimmt die 5 Pleuel (orange) drehbar gelagert auf
  • Hier: die Exzentrizität der stehende Kurbelwelle zum rotierenden Zylinder 8mm

Video der Rotationsbewegung

Der neue Wasserstoffmotor soll als 2-Takt-Diesel laufen:

  • mit reinem O2 und H2 aus Hochdruckflaschen
  • im unteren Totpunkt O2 mit ca. 5 bar Überdruck in den Brennraum durch ringförmige Einlassschlitze
  • im oberen Totpunkt H2 Einspritzung mit sehr hohem Überdruck
  • nur Auslassventile in den Zylinderköpfen
  • Auslassventile dichten im Ventilsitz durch Fliehkraft
  • Auslassventile werden durch Kurvenbahn im stehenden Gehäuse zwangsgeöffnet
  • keine Ventilfedern mehr nötig
  • auch keine oben oder unten liegenden Nockenwellen mehr nötig

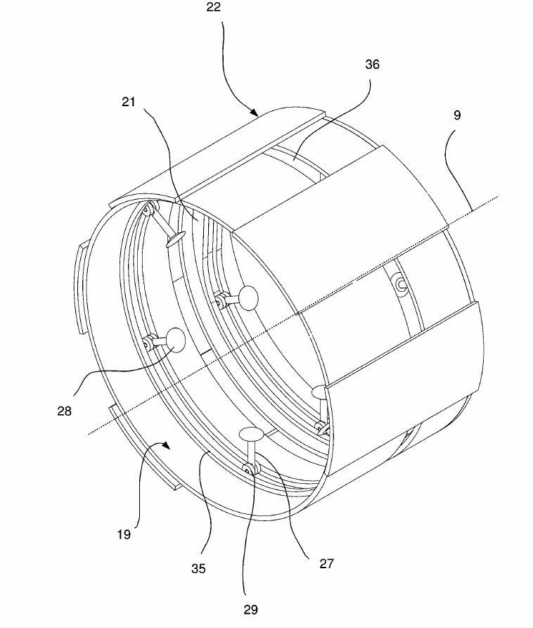
Hier Ventilsteuerung ohne Kolben und Zylinder:

  • Zwangsöffnung durch negativen Nocken 21
  • Abdichten im Zylindersitz 28 durch natürliche Fliehkraft bei Drehzahlen

Hier die Ventilsteuerung in der Perpektive:

  • beim Umlaufen in einer Nut die Zwangsöffnung, wenn die Erhebung im Gehäuse kommt
  • Ventil schließt nach der Erhebung durch Fliehkraft
  • hier 2 Motoreinheiten hintereinander axial in Reihe angeordnet

Diese vollkommen neuartige Ventilsteuerung für einen Umlaufmotor ist im EU-Raum und den USA patentiert. Vor über hundert Jahren haben Umlaufmotoren schon erfolgreich in der Luftfahrt Anwendung gefunden. z.B. Alfred von Richthofen mit seiner Fokker DR2:

Aber mit sehr komplizierter Ventilsteuerung:

  • Mehrfachnockenwellen mit rotierenden Ventilstößeln, gefederten Kipphebeln außen auf dem rotierenden System.
  • Einlassventile im Kolbenboden als Flatterventil und das Gemisch durch das Kurbelwellengehäuse (Explosion dann immer bei Flatterventilschäden).
  • Schon der damalige Umlaufmotor brachte bei ca 100kg Gewicht ca 90 PS bei 1000 U/Min

Zusammenfassung

  • leichte Bauweise bei hoher Leistung
  • weniger Teile
  • vereinfachte Wartung und Zuverlässigkeit
  • wirtschaftlich bei reiner H2 O2 -Technologie aus der Gasflasche
  • Abgas reines H2O
  • Schmiermittel H2O - kein Öl mehr nötig
  • nullkommanull Stickoxyd ,da Umgebungsluft mit dem hohen Stickstoffanteil am Verbrennungsprozess gar nicht mehr benutzt wird
  • stehende Kurbelwelle bei geringen inneren Kräften wirtschaftlich nur noch aus Platten und Stiften
  • Wälzlager für Pleuelaugen auf stehender Kurbelwelle einfach möglich
  • komplexer Zylinderstern mit internen Kühlkanälen und H2 und O2 Kanälen 3D-gedruckt und nur noch Passungen nachbearbeitet